Apple’s foldable iPhone could feature special hinge to prevent display damage
“The foldable iPhone will probably be released in late 2020 as Apple is still working on the product”
We have known for a while now that Apple has been secretly working on a foldable iPhone for years. The company has been filing patent applications for a foldable device since 2017. In a newly discovered patent filing, Apple has described a way to prevent the flexible portion of the display from being damaged by excessive folding.
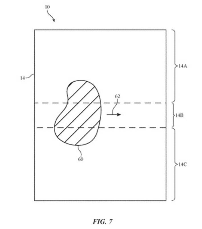
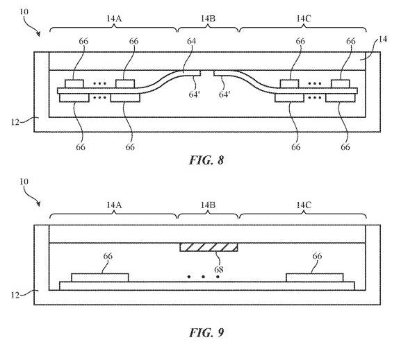
The Apple patent is for the folding part of the device, which can get damaged if the temperature surrounding the flexible area is not adequate. The mechanism may cause issues to the flexible display when the temperature is cold. Therefore, to prevent damage to the screen, Apple has come up with a method to keep the area warm. Apple states that the hinge could house temperature sensors to know if the area is too cold for bending.

If the bending area of the display is found to be cold, then the pixels in that region could be illuminated so it gets heated up. Apple could also use other heating methods to heat up the portion of the display. The user could also start the heating manually based on temperature information. Furthermore, to prevent users from folding the device in cold temperatures, a latching hinge will be engaged. This will prevent the display from cracking or being damaged.

Foldable smartphones are all the buzz right now and several manufacturers have already launched such products. Samsung recently unveiled the Galaxy Fold and then came the Huawei Mate X. Other manufacturers such as Xiaomi and Motorola have also confirmed that they are working on foldable smartphones. We are going to see a lot of these phones in the second half of this year and 2020 as well.
Not much is known about the foldable iPhone from Apple though. We can definitely expect the company to launch such as device in the future, but right now is probably not the best time. Foldable smartphones are very new and the prices for them are very high. It is a known fact that Apple likes to wait and launch a new product as it takes its own time to perfect the technology.
from 91mobiles.com https://ift.tt/2IIvVEF
>
No comments